Trục định vị trên mặt bằng công trình kiến trúc có những mục đích chính gì?
1. Để xác định hệ lưới kết cấu không gian mặt bằng công trình
2. Để định vị công trình theo phương ngang và phương đứng
3. Để thể hiện tính khoa học trong việc xác định kích thước moduyn không gian kiến trúc.
4. Để gọi tên vị trí bộ phận, chi tiết kiến trúc khi cần thiết.
Có 2 mục đích chính là 1 và 2
Có 3 mục đính chính là 1; 2 và 3
Có 3 mục đính chính là 1; 2; 4
Tất cả các mục đích 1; 2; 3; 4.
Hình vẽ mặt cắt qua công trình trong hồ sơ thiết kế cơ sở có mục đích chính gì?
1. Để diễn tả không gian
2. Để thể hiện các giải pháp kỹ thuật
3. Để phục vụ nhà thầu thi công
4. Để phục vụ nhà quản lý phê duyệt, cấp phép.
Có 2 mục đích chính là 1; 2
Có 3 mục đích chính là 1; 2; 3
Có 3 mục đích chính là 1; 2; 4
Tất cả các mục đích là 1; 2; 3; 4.
Chỉ tiêu diện tích khu vực đỗ xe ô tô (25 m2/xe) gồm:
Chỗ đỗ + diện tích các lối đi trong khu vực đỗ xe
Chỗ đỗ + diện tích quay đầu xe (để ra/vào chỗ đỗ)
Chỗ đỗ + diện tích đường dốc (để lên/xuống khu đỗ xe)
Chỗ đỗ + diện tích lối đi + diện tích phụ trợ khác
Mũi bậc có tác dụng gì?
Tăng chiều rộng mặt bậc
Tăng chiều rộng mặt bậc
Để mũi và gót chân không bị va vấp vào cổ bậc
Để khi lau sàn thì nước không làm bẩn cổ bậc
Để làm đẹp về hình thức
Một công trình kiến trúc cao 5 tầng, có hình dạng mặt bằng như hình vẽ, Mặt đứng chính của công trình nhìn theo hướng A. Nên chọn phương án mặt đứng nào phản ánh đúng đặc điểm công trình?





Mặt nhà đã hoàn thiện của một công trình khi nhìn từ xa, các trường hợp nào sau đây không được xem là có từ 2 màu trở lên?
Tường có các diện nông sâu khác nhau
Tường phun sơn gai sần sùi
Tường có các diện nghiêng vát hướng khác nhau
Tường có các mảng ốp chất liệu khác nhau
Không có trường hợp nào
Trong bảng màu thuần sắc, những cặp màu nào sau đây không gọi là cặp màu tương phản?
Vàng - Tím
Xanh lam - Cam
Đỏ - Xanh lục
Trắng - Đen
Những cặp màu nào sau đây được gọi là cặp màu bổ túc?
Vàng - Xanh lam
Xanh lam - Tím
Đỏ - Xanh lục
Tất cả các cặp màu trên
Chỉ giới đường đỏ là gì?
Đường ranh giới được xác định trên bản đồ quy hoạch và thực địa để phân
định ranh giới giữa phần đất được xây dựng công trình và phần đất được
dành cho đường giao thông hoặc công trình hạ tầng kỹ thuật, không gian công
cộng khác.
Đường ranh giới phân định giữa lô đất xây dựng công trình và phần đất được
dành cho các công trình khác
Đường ranh giới phân định giữa lô đất xây dựng công trình và phần đất được
dành cho vìa hè phía trước công trình
Tất cả các ý trên.
Double Skin (vỏ đúp / vỏ kép) là thuật ngữ của kiến trúc phương Tây (khí hậu lạnh). Khi áp dụng vào kiến trúc nhiệt đới, khái niệm này nên được hiểu như thế nào là toàn diện nhất?
Vách kính 2 lớp (ở giữa bơm khí trơ)
2 vách kính đơn lắp song song với nhau
Cấu trúc bao che gồm 2 lớp, ở giữa có khoảng trống để thông gió, cách nhiệt, …
Vách kính + hệ lam chắn nắng.
Trong cầu thang 2 vế, vế thang đi lên được bố trí như thế nào?
Là vế bên trái.
Là vế bên phải.
Tùy hoàn cảnh.
Theo phong thủy.
Giữa các bản thang và giữa các lan can tay vịn của bản thang phải có khe hở với chiều rộng thông thủy chiếu trên mặt bằng không nhỏ hơn bao nhiêu thì phù hợp?
Không có khe hở.
Không nhỏ hơn 100 mm
Không nhỏ hơn 300 mm
Tùy chọn / tùy giải pháp
Nhà và công trình thiết kế xây dựng trong khu vực có quy hoạch chi tiết và thiết kế đô thị phải tuân thủ:
Chỉ giới đường đỏ của khu vực xây dựng
Chỉ giới xây dựng của khu đất xây dựng
Quy hoạch chi tiết và thiết kế đô thị của khu vực
Tất cả các ý trên
Theo quy chuẩn hiện hành, chiều cao và chiều rộng bậc của tất cả các bậc thang trong công trình cộng cộng (trừ cầu thang bộ trong cơ sở giáo dục mầm non) phải thoả mãn yêu cầu về kích thước tổng của hai lần chiều cao cộng với chiều rộng bậc thang (2H+B) như thế nào là phù hợp?
Không nhỏ hơn 500mm và không lớn hơn 600mm
Không nhỏ hơn 550mm và không lớn hơn 650mm.
Không nhỏ hơn 550mm và không lớn hơn 700mm
Không nhỏ hơn 600mm và không lớn hơn 700mm
Mũi bậc trên cầu thang thoát hiểm nên được làm như thế nào là phù hợp?





A = 0,8m; B = 1,0m - 1,1m; C = 1,3m-1,4m
D = 1,50m - 1,65m; E = 2,1m - 2,2m
A = 0,9m; B = 1,1m - 1,2m; C = 1,4m-1,5m
D = 1,65m - 1,8m; E = 2,2m - 2,4m
A = 1,0m; B = 1,2m - 1,3m; C = 1,5m-1,6m
D = 1,75m - 1,9m; E = 2,4m - 2,5m
A = 1,1m; B = 1,3m - 1,4m; C = 1,6m-1,7m
D = 1,85m - 2,0m; E = 2,5m - 2,6m
Với công trình nhà chung cư hay khách sạn có bậc chịu lửa bậc I hoặc II, cấp nguy hiểm cháy kết cấu là S0 thì khoảng cách tối đa cho phép từ cửa ra vào căn hộ hoặc phòng ở đến lối ra thoát nạn gần nhất là bao nhiêu?
+ Khi cửa bố trí ở giữa các buồng thang bộ hoặc giữa các lối ra ngoài là X (m).
+ Khi cửa bố trí ở hành lang cụt là Y (m).
X = 40 (m); Y = 25 (m).
X = 50 (m); Y = 25 (m).
X = 50 (m); Y = 20 (m).
X = 40 (m); Y = 20 (m).
Trong kiến trúc, một cấu kiện gác sàn bằng bê tông cốt thép, từ bản vẽ thiết kế đến thực tế thi công, có bao nhiêu loại kích thước:
1 kích thước
2 kích thước
3 kích thước
4 kích thước
Một cửa đi có kích thước xây thô chiều cao từ sàn BTCT đến lanh tô BTCT là 2400, tiết diện khuôn cửa gỗ là 65 x 130. Được biết lớp hoàn thiện mặt sàn lát đá tự nhiên dày 20mm. Khi thiết kế chiều cao cánh cửa bao nhiêu là hợp lý? (đơn vị mm)
2350
2330
2300
2270
Một cửa đi sau khi đã lắp khuôn rộng thông thủy 1600, 2 cánh đều nhau mở về một phía, khung cánh gỗ liền. Vậy một cánh có kích thước thiết kế bề rộng là bao nhiêu? (đơn vị mm)
800
810
820
830
Chi tiết cấu tạo bậc tam cấp sau đây, thông thường thì hình vẽ nào là đúng?




Đầu tường chắn mái bao quanh của 1 tòa nhà, trong các hình vẽ lớp trát hoàn thiện sau đây, hình vẽ nào là hợp lý?



Về chi tiết lắp cửa kính khung nhôm - Hình vẽ nào sau đây là hợp lý?



Vị trí hộp kỹ thuật trong khu vệ sinh của phòng ngủ ở công trình khách sạn, trong các phương án dưới đây, phương án nào là hợp lý?




Mặt cắt đường dốc cho xe ô tô lên xuống tầng hầm. Hỏi thường có bao nhiêu đoạn độ dốc khác nhau?
1 đoạn
2 đoạn
3 đoạn
4 đoạn
Một nhà chung cư có 3 tầng hầm. Hỏi nên bố trí bể xử lý nước thải ở tầng hầm nào là hợp lý hơn?
Bố trí ở tầng hầm 3
Bố trí ở tầng hầm 2
Bố trí ở tầng hầm 1
Phân chia khối tích bể để ở tất cả các tầng
Lan can logia của nhà chung cư có hình thức kiến trúc như hình vẽ. Chi tiếtcấu tạo liên kết chân lan can theo hình vẽ nào là hợp lý về thi công và sử dụng?




Đoạn đầu và đoạn cuối đường dốc cho xe ô tô được thiết kế có độ dốc nhỏ hơn nhằm mục đích gì?
Để giảm chiều dài đường dốc
Để giảm tốc độ xe khi lên / xuống
Để xe không bị quệt gầm / mũi
Để xe không bị trôi, trượt.
Đường dốc có mái cho xe ô tô lên, xuống gara được thiết kế gồm 3 đoạn có độ dốc khác nhau thì độ dốc của các đoạn lần lượt là bao nhiêu?
10% - 18% - 30%
10% - 18% - 10%
10% - 20% - 30%
10% - 20% - 10%
Kính tại các nơi có người thường xuyên lui tới bên trong hoặc xung quanh công trình phải đáp ứng:
1. Được bảo vệ tránh va đập.
2. Có thể chịu được tác động va đập mà không bị vỡ.
3. Nếu bị vỡ do va đập thì không gây nguy hiểm cho người sử dụng
Đáp ứng tất cả các yêu cầu 1, 2 và 3.
Cần đáp ứng một trong các yêu cầu 1, 2 và 3.
Chỉ đáp ứng một yêu cầu 2.
Phải đáp ứng yêu cầu 1 và 3.
Chênh lệch độ cao trên mặt sàn tối đa là bao nhiêu thì xe lăn có thể vượt qua mà không cần làm đường dốc:
10 mm
20 mm
30 mm
50 mm
Chênh lệch cao độ sàn giữa WC với bên ngoài (phòng / hành lang) là 30mm. Để xe lăn có thể ra / vào được thì cần làm đoạn dốc dài tối thiểu bao nhiêu?
Không cần
L = 120 mm
L = 240 mm
L = 360 mm

A = 15m; B = 3,0m; C = 1,8m.
A = 18m; B = 3,3m; C = 2,1m.
A = 20m; B = 3,6m; C = 2,4m.
A = 25m; B = 4,2m; C = 3,6m.
Chiều cao thông thủy của nhà thi đấu thể thao đa năng tối thiểu là bao nhiêu (để đáp ứng các môn thi đấu)?
9 m.
12m.
11m.
13m.
Trong mặt bằng bố trí các nhóm thang máy như hình dưới, chiều rộng tối thiểu của diện tích giữa 2 cụm thang máy là bao nhiêu?

≥ 1200mm.
≥ 1500mm.
≥ 3200mm.
≥ 4200mm.
Trong “Tiêu chí Kiến trúc Xanh Việt Nam 2013-2014” của Hội Kiến trúc sư Việt Nam, tiêu chí với mục tiêu nhằm tạo lập cảnh quan hài hòa, bền vững, giảm thiểu tác động tiêu cực giữa công trình kiến trúc với cảnh quan xung quanh và khai thác, phát huy những yếu tố tự nhiên có lợi cho môi trường sống của con người là tiêu chí nào?
Tiêu chí “Địa điểm bền vững”.
Tiêu chí “Quy hoạch bền vững”.
Tiêu chí “Sử dụng tài nguyên và năng lượng hiệu quả”.
Tiêu chí “Tính xã hội và nhân văn bền vững”.
Với hình vẽ mặt bằng mái như dưới đây, cho phép ta có thể liên hệ đến các công trình nào? (kích thước m)

1. Nhà thi đấu thể dục thể thao
2. Nhà điều trị bệnh viện
3. Bể bơi có mái
4. Trung tâm thương mại
Công trình 1, 3
Công trình 2, 4
Công trình 1, 3, 4
Tất cả công trình 1, 2, 3, 4
Trong các yếu tố sau đây, đâu là yếu tố khác biệt cơ bản nhất của chợ so với siêu thị?
Không phổ biến bán hàng tự chọn.
Không có điều hòa không khí trong không gian bán hàng.
Có thành phần buôn bán không thường xuyên
Có không gian buôn bán ngoài trời
Cho biết kích thước sử dụng sân bóng rổ tiêu chuẩn thi đấu?
26m x 14m
28m x 15m
30m x 15m
32m x 16m
Một bể bơi có kích thước 50mx25m. Hỏi người ta thường bố trí mấy làn bơi?
8
9
10
11
Cách thiết kế độ dốc khán đài, việc xác định độ nâng cao tia nhìn C, theo 3
trường hợp dưới đây thì trường hợp nào là đúng?


a
b
c
Cho biết kích thước sử dụng sân tennis (chơi đôi) tiêu chuẩn thi đấu?
23,00m x 10,00m
23,77m x 10,97m
23,90m x 11,24m
24,00m x 12,00m

Tại vị trí F1
Tại vị trí F2
Tại vị trí F3
Tại vị trí F4

Tại vị trí F1
Tại vị trí F2
Tại vị trí F3
Tại vị trí F4
Điểm quan sát thiết kế của nhà hát được xác định ở đâu?
Tại vị trí F1
Tại vị trí F2
Tại vị trí F3
Tại vị trí F4
Bể bơi có kích thước 25m x 50m có bao nhiêu làn bơi thi đấu?
7 làn
8 làn
9 làn
10 làn.
Chiều rộng bể bơi thi đấu trong các trung tâm TDTT được thiết kế tăng từ 21m lên 25m nhằm mục đích gì?
Để tăng số lượng đường bơi phục vụ thi đấu
Để tăng chiều rộng mỗi làn bơi
Để tăng công suất luyện tập.
Để thống nhất module với chiều dài bể
Các phòng ngủ tiêu chuẩn (standard) trong khối ngủ của khách sạn được ghép theo cách nào là hợp lý nhất?




Thời gian tối đa để thoát người ra khỏi phòng khán giả (khi có sự cố) được tính:
Theo khoảng cách từ chỗ ngồi xa nhất đến cửa ra vào
Theo khoảng cách từ vị trí giữa phòng đến cửa ra vào
Theo khoảng cách từ góc phòng đến cửa thoát xa nhất
Theo lối đi từ chỗ ngồi xa nhất đến cửa thoát gần nhất
Trong bể nhảy cầu, Cầu nhảy có các độ cao khác nhau (VD: 1m - 3m - 5m - 7,5m - 10m) được tổ hợp như thế nào?
Từ trái sang phải, theo độ cao tăng dần.
Từ trái sang phải, theo độ cao giảm dần.
Cao ở giữa, thấp dần ra 2 bên hoặc so le từ thấp lên cao theo chiều đứng
Bố trí ở hai phía của bể nhảy cầu.
Rào, lan can ban công và lô gia, bao gồm cả chiều cao từ sàn đến mặt dưới lỗ cửa / bậu cửa sổ trong nhà chung cư, nhà chung cư hỗn hợp không được nhỏ hơn:
1,2m.
1,3 m.
1,4m.
1,5 m.
Trong rạp chiếu phim, Số ghế ngồi liên tục trong một hàng không được lớn hơn:
Một đầu có lối đi là 20 ghế và hai đầu có lối đi là 40 ghế.
Một đầu có lối đi là 25 ghế và hai đầu có lối đi là 40 ghế.
Một đầu có lối đi là 20 ghế và hai đầu có lối đi là 50 ghế.
Một đầu có lối đi là 25 ghế và hai đầu có lối đi là 50 ghế.
Trong quy chuẩn hiện hành, diện tích phòng ngủ trong chung cư cao tầng quy định không được nhỏ hơn bao nhiêu m2?
8 m2.
9 m2.
10 m2.
12 m2.
Theo quy chuẩn hiện hành, yêu cầu về thang máy trong nhà chung cư (bao gồm: phải đảm bảo lưu lượng người sử dụng theo tiêu chuẩn được
lựa chọn áp dụng. Trong đó tối thiểu phải có 1 thang máy chuyên dụng có kích thước thông thủy của cabin đảm bảo vận chuyển băng ca cấp
cứu) được quy định theo nội dung nào dưới đây?
Nhà chung cư, nhà chung cư hỗn hợp từ X tầng trở lên phải có tối thiểu 1 thang máy, từ Y tầng trở lên phải có tối thiểu 2 thang máy.
X = 5; Y = 10.
X = 5; Y = 9.
X = 6; Y = 9.
X = 6; Y = 10.
Một công trình có tổ hợp khối như mặt bằng tổng thể dưới đây. Thông thường thì giải pháp khe lún kết hợp khe nhiệt nào là hợp lý hơn?





Một công trình công cộng có khẩu độ lớn (sơ đồ mặt bằng và mặt cắt như hình vẽ trên). Các hình vẽ sơ đồ mặt bằng dưới đây, thể hiện giải pháp về hệ khung dầm chính của công trình. Hỏi những sơ đồ nào chưa thể hiện được sự hợp lý của hệ khung dầm chính?




Trong một phòng karaoke, cần quan tâm xử lý kỹ thuật, các vật liệu để cấu tạo tường, trần như thế nào thì hợp lý?
Vật liệu cách âm
Vật liệu tiêu âm
Vật liệu hút âm và cách âm
Vật liệu tán xạ âm.
Thông thường, trong các trường hợp dưới đây, khi nào thì nên xác định khe lún cho công trình?
Khi chiều cao các khối công trình khác nhau
Khi tải trọng các khối công trình khác nhau
Khi nền đất không đồng đều
Khi giải pháp vật liệu kết cấu các khối công trình khác nhau
Chỉ có 3 trường hợp là a, b, c.
Tất cả các trường hợp trên là a, b, c, d.
Trong phòng khán giả của một nhà hát, tường ở những vị trí nào thường sử dụng làm mặt phản xạ âm?
Tường hậu sân khấu
Tường hai bên miệng sân khấu
Tường 2 bên phòng khán giả
Tường hậu phòng khán giả
Chiếu sáng ban đêm cho một sân bóng đá, yêu cầu độ rọi theo tiêu chuẩn trên diện tích mặt sân có chiều cao bao nhiêu là phù hợp?
25m
30m
40m
45m
Trong số các chỉ tiêu độ rọi sau đây, chỉ tiêu nào là phù hợp với tiêu chuẩn thiết kế trường học?
Với phòng học: 300lux
Với phòng đọc thư viện: 500lux
Với văn phòng làm việc: 200lux
Với phòng giáo dục thể chất: 500lux
Trong nhiệt học kiến trúc, phương thức truyền nhiệt nào sau đây không đề cập đến?
Truyền nhiệt qua chất rắn
Truyền nhiệt qua chất lỏng
Truyền nhiệt qua không khí
Truyền nhiệt theo bức xạ
Trong các hình dưới đây, hình nào thể hiện buồng thang bộ loại N2?




Một họng chữa cháy vách tường phải chữa cháy liên tục trong 3 giờ thì dung tích dự trữ (hay còn gọi là thể tích bể chứa PCCC dự kiến) là bao nhiêu m3?
10 m3.
25 m3.
27 m3.
30 m3.
Hình vẽ dưới đây thể hiện công năng gì?

Bố trí không gian thông thủy cho cửa liên tiếp trong công trình bệnh viện.
Bố trí không gian thông thủy cho cửa liên tiếp trong công trình đảm bảo cho người
khuyết tật tiếp cận sử dụng.
Bố trí không gian thông thủy cho cửa liên tiếp trong công trình nhà dưỡng lão.
Bố trí không gian thông thủy cho cửa liên tiếp trong công trình nhà hát
Trong kiến trúc, có bao nhiêu phương thức truyền nhiệt được đề cập đến?
1. Truyền nhiệt dẫn nhiệt qua chất rắn.
2. Truyền nhiệt lan truyền qua chất lỏng
3. Truyền nhiệt qua đối lưu không khí
4. Truyền nhiệt theo bức xạ nhiệt
Có 2 phương thức là 1; 3
Có 3 phương thức là 1; 2; 3
Có 3 phương thức là 1; 3; 4
Tất cả các phương thức trên là 1; 2; 3; 4
Buồng thang theo hình vẽ dưới đây là loại buồng thang gì? 
Buồng thang loại N1.
Buồng thang loại N2.
Buồng thang loại N3.
Buồng thang loại L2.
Buồng thang theo hình vẽ dưới đây là loại buồng thang gì? 
Buồng thang loại N1.
Buồng thang loại N2.
Buồng thang khói N3.
Buồng thang loại L1.
Trong các loại điều hòa phổ biển hiện nay, loại điều hòa nào cần có đường ống cấp gió?
Điều hòa dạng cassette.
Điều hòa dạng treo tường.
Điều hòa dạng Multi Split.
Điều hòa dạng VRV.
Theo quy chuẩn hiện hành, trong nhà hỗn hợp có tầng lánh nạn thì các tầng lánh nạn cách nhau không quá bao nhiêu tầng?
15 tầng
20 tầng
25 tầng
30 tầng
Ở giai đoạn thiết kế kỹ thuật, một công trình kiến trúc có hình vẽ mặt bằng có sân trong như dưới đây, cần xác định tối thiểu bao nhiêu mặt cắt để diễn tả đủ hình thức kiến trúc công trình? (kích thước m)

2 mặt cắt
3 mặt cắt
4 mặt cắt
5 mặt cắt
Một nhà biệt thự mái ngói, có độ dốc mái bằng nhau. Hình vẽ mặt bằng mái nào là đúng?




Một khu đất trong phố xây nhà liền kế có kích thước 3,6m x 12m. Yêu cầu thiết kế tầng 2 và tầng 3, mỗi tầng có 2 phòng ngủ, 1 khu vệ sinh chung (chiều cao tầng 3,6m, vế thang rộng 0,9m, thang không có bậc xoáy chéo, không làm lệch tầng, phía mặt phố có ban công đua ra hè 1m, phía sau có ngõ rộng 2m). Phương án bố trí thang ở vị trí và kiểu thang nào là thuận lợi và hợp lý? (Kích thước m)






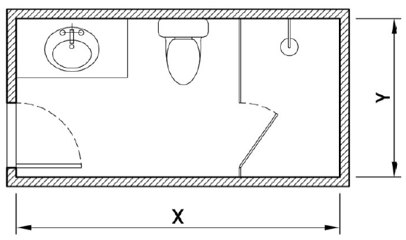
Trong phương án bố trí khu vệ sinh dưới đây, kích thước tối thiểu của X và Y bao nhiêu là phù hợp?

X = 1,5m; Y = 0,8m.
X = 1,8m; Y = 0,9m.
X = 2,4m; Y = 1,2m.
X = 3,0m; Y = 1,5m

Một dãy biệt thự có khu đất 400m2 như hình vẽ trên. Mẫu biệt thự có quy mô và kiểu cách giống nhau, có bể bơi 3m x 6m ngoài trời và có vị trí cổng ra vào đã xác định. Nên định vị mặt bằng biệt thự vào khu đất theo phương án nào thì có hiệu quả hơn để bố trí các chức năng sân vườn khác? (kích thước m)

Phương án 1
Phương án 2 và 3
Phương án 2 và 4
Phương án 3

Một dãy biệt thự có khu đất 400m2 như hình vẽ trên. Mẫu biệt thự có quy mô và kiểu cách giống nhau, có bể bơi 3m x 6m ngoài trời và có vị trí cổng ra vào đã xác định. Nên định vị mặt bằng biệt thự vào khu đất theo phương án nào thì có hiệu quả hơn để bố trí các chức năng sân vườn khác? (kích thước m)




Vòng tròn d = 1m50 biểu thị phạm vi quay xe lăn. Khu WC nào dưới đây không đảm bảo tiếp cận sử dụng?




Một ô cửa sổ hình chữ nhật ngang, khung cửa 2 rãnh trượt. Hỏi nên chia chiều ngang thành mấy phần cánh thì có khoang mở cửa lớn nhất?

Chia 2
Chia 3 và 5
Chia 2 và 4
Chia 5
Chia 3
Chia 4
Một khu vệ sinh nam có xí, tiểu, rửa và có hộp sấy tay với các mặt bằng thiết kế dưới đây. Hỏi phương án nào là hợp lý hơn cả?




Một khu vệ sinh nam có xí, tiểu, rửa và có hộp sấy tay với các mặt bằng thiết kế dưới đây. Hỏi phương án nào là hợp lý hơn cả?




Một khu vệ sinh có xí, rửa, tắm với các mặt bằng thiết kế dưới đây. Hỏi phương án nào là hợp lý hơn cả?




Phòng làm việc của 1 phó giám đốc, có mặt bằng như hình vẽ dưới đây. Hỏi thường phương án bố trí cửa nào là hợp lý hơn? (kích thước m)




Trong thiết kế kỹ thuật, khi cần diễn tả một vật thể cần có những hình vẽ gì?
1. Mặt bằng
2. Mặt đứng
3. Mặt cắt
4. Phối cảnh
Chỉ cần 2 loại hình vẽ là 1; 2
Chỉ cần 3 loại hình vẽ là 1; 2; 3
Chỉ cần 3 loại hình vẽ là 1; 2; 4.
Cần tất cả các hình vẽ 1; 2; 3; 4
Theo quy định hiện hành, trong nhà ở, một vế thang bộ (đợt thang bộ) được bố trí tối đa là bao nhiêu bậc thang?
15 bậc
18 bậc
20 bậc
25 bậc
Khu WC dành cho người khuyết tật trong công trình công cộng nên được bố trí như thế nào là phù hợp nhất?
Ở khoang trong cùng của khu WC chung
Ở khoang ngoài cùng của khu WC chung
Tách thành khu WC riêng
Tất cả các khoang đều đảm bảo tiếp cận
Trong hồ sơ kiến trúc thiết kế bản vẽ thi công, các nội dung sau đây được thể hiện trên bản vẽ nào?
Nội dung:
- Các kích thước chiều cao của cửa, dầm, lan can, bậu cửa sổ so với sàn hoặc trần nhà;
- Kích thước chiều cao kết cấu bên trong của các bộ phận nằm trong tường chịu lực;
- Cao độ của sàn và trần của tầng;
- Các lớp cấu tạo của sàn và của mái.
Thể hiện trên bản vẽ:
Mặt bằng tổng thể
Mặt bằng các tầng
Mặt cắt công trình
Mặt đứng công trình
Trong cầu thang thoát hiểm, vế xuống tầng hầm và vế lên các tầng trên được xử lý như thế nào để khi có sự cố người thoát hiểm không bị dồn xuống tầng hầm?
Làm vách ngăn giữa 2 vế thang
Vế xuống hầm có cửa đóng lại
Chuyển vế thang xuống hầm ra vị trí khác
Làm vách ngăn & cửa tách riêng 2 vế thang.
Kiểu ghế nào không phù hợp để lắp đặt trên khán đài các công trình TDTT (sân vận động / nhà thi đấu /…)

a
b
c
d
e
Chủ thể nào sau đây không liên quan trực tiếp đến hoạt động xây dựng công trình?
Chủ đầu tư, đại diện chủ đầu tư (nếu có).
Chủ sở hữu hoặc người quản lý, sử dụng công trình.
Nhà thầu thi công; nhà thầu cung ứng sản phẩm xây dựng, vật liệu xây dựng,
cấu kiện, thiết bị lắp đặt vào công trình.
Các nhà thầu tư vấn gồm: khảo sát, thiết kế, quản lý dự án, giám sát, thí
nghiệm, kiểm định và các nhà thầu tư vấn khác.
Trường hợp nào dưới đây thì Chủ đầu tư được tự tổ chức thực hiện thiết kế xây dựng công trình?
Nhà ở riêng lẻ của hộ gia đình, cá nhân không có tầng hầm, có tổng diện tích
sàn xây dựng nhỏ hơn 250m2 hoặc dưới 3 tầng hoặc có chiều cao dưới 12m.
Nhà ở riêng lẻ của hộ gia đình, cá nhân từ 3 đến 7 tầng hoặc có 01 tầng hầm
hoặc có tổng diện tích sàn xây dựng lớn hơn 250m2.
Nhà ở riêng lẻ của hộ gia đình, cá nhân từ trên 7 tầng hoặc có 02 tầng hầm
trở lên.
Không có trường hợp nào như trên.
Trường hợp nào dưới đây thì việc thiết kế bắt buộc phải được tổ chức, cá nhân có đủ điều kiện năng lực theo quy định của pháp luật thực hiện?
Nhà ở riêng lẻ của hộ gia đình, cá nhân không có tầng hầm, có tổng diện tích
sàn xây dựng nhỏ hơn 250m2 hoặc dưới 3 tầng hoặc có chiều cao dưới 12m.
Nhà ở riêng lẻ của hộ gia đình, cá nhân từ 3 đến dưới 7 tầng hoặc có 01 tầng
hầm hoặc có tổng diện tích sàn xây dựng từ 250m2 trở lên hoặc có chiều cao
từ 12m trở lên.
Nhà ở riêng lẻ của hộ gia đình, cá nhân từ trên 7 tầng hoặc có 02 tầng hầm
trở lên.
Tât cả các trường hợp nêu trên.
Trường hợp nào dưới đây thì hồ sơ thiết kế phải được thẩm tra thiết kế về nội dung an toàn công trình trước khi xin cấp giấy phép xây dựng. Việc thiết kế và thẩm tra thiết kế phải được tổ chức, cá nhân có đủ điều kiện năng lực theo quy định của pháp luật thực hiện?
Nhà ở riêng lẻ của hộ gia đình, cá nhân không có tầng hầm, có tổng diện tích
sàn xây dựng nhỏ hơn 250m2 hoặc dưới 3 tầng hoặc có chiều cao dưới 12m.
Nhà ở riêng lẻ của hộ gia đình, cá nhân từ 3 đến dưới 7 tầng hoặc có 01 tầng
hầm hoặc có tổng diện tích sàn xây dựng từ 250m2 trở lên hoặc có chiều cao
trên 12m.
Nhà ở riêng lẻ của hộ gia đình, cá nhân từ 7 tầng trở lên hoặc có 02 tầng hầm
trở lên.
Tât cả các trường hợp nêu trên.
Một bộ sản phẩm của Báo cáo kinh tế kỹ thuật, hồ sơ bao gồm những gì dưới đây là đầy đủ?
1. Phần thuyết minh;
2. Thiết kế kỹ thuật;
3. Thiết kế bản vẽ thi công;
4. Thiết kế công nghệ (nếu có);
5. Khái toán tổng mức đâu tư;
6. Dự toán xây dựng.
Các ý 1; 2; 4; 5.
Các ý 1; 3; 4; 6.
Các ý 2; 4; 5; 6.
Tất cả các ý trên
Theo Quy định hiện hành, Thiết kế kỹ thuật nằm trong giai đoạn nào trong trình tự xây dựng:
Chuẩn bị dự án.
Thực hiện dự án
Kết thúc xây dựng đưa công trình của dự án vào khai thác sử dụng
Cả ba giai đoạn trên
Nội dung nào dưới đây không thuộc nội dung thực hiện giám sát tác giả của nhà thầu thiết kế trong thi công xây dựng công trình?
Giải thích và làm rõ các tài liệu thiết kế công trình khi có yêu cầu của chủ đầu
tư, nhà thầy thi công xây dựng, nhà thầu giám sát thi công xây dựng công
trình.
Phối hợp với chủ đầu tư khi được yêu cầu để giải quyết vướng mắt, phát sinh
về thiết kế trong quá trình thi công xây dựng; điều chỉnh thiết kế trong quá
trình thi công xây dựng công trình, xử lý những bất hợp lý trong thiết kế theo
yêu cầu của chủ đầu tư.
Thông báo kịp thời cho chủ đầu tư và kiến nghị biện pháp xử lý khi phát hiện
thi công sai với thiết kế được duyệt của nhà thầu thi công xây dựng.
Phối hợp với chủ đầu tư lập bản vẽ hoàn công công trình xây dựng hoàn
thành.
Tham gia nghiệm thu công trình xây dựng khi có yêu cầu của chủ đầu tư. Khi
phát hiện hạng mục công trình, công trình xây dựng không đủ điều kiện
nghiệm thu phải có ý kiến kịp thời bằng văn bản gửi chủ đầu tư.
Các trường hợp nào sau đây chủ đầu tư không phải lập báo cáo nghiên cứu khả thi đầu tư xây dựng?
Công trình xây dựng sử dụng cho mục đích tôn giáo;
Công trình xây dựng quy mô nhỏ và công trình khác do Chính phủ quy định;
Khi xây dựng nhà ở riêng lẻ;
Tất cả các ý trên.
Hồ sơ thiết kế kiến trúc nào dưới đây thuộc báo cáo kinh tế kỹ thuật?
Hồ sơ thiết kế kiến trúc sơ bộ.
Hồ sơ thiết kế kiến trúc cơ sở.
Thiết kế kiến trúc kỹ thuật.
Thiết kế kiến trúc bản vẽ thi công.
Hồ sơ thiết kế kiến trúc nào dưới đây thuộc giai đoạn lập báo cáo nghiên cứu tiền khả thi?
Hồ sơ thiết kế kiến trúc sơ bộ.
Hồ sơ thiết kế kiến trúc cơ sở.
Thiết kế kiến trúc kỹ thuật.
Thiết kế kiến trúc bản vẽ thi công.
Tư vấn thiết kế tiến hành nghiên cứu đồ án thiết kế theo nhiệm vụ thiết kế được giao, để đáp ứng được cao nhất quyền lợi của chủ đầu tư đối với công trình sẽ được xây dựng, Tư vấn thiết kế nên như thế nào là hợp lý trước khi tiến hành đề xuất thiết kế.
Nghiên cứu kỹ và làm đúng như yêu cầu của nhiệm vụ thiết kế một cách tốt
nhất
Tư vấn thiết kế phản biện lại nội dung của nhiệm vụ thiết kế với chủ đầu tư
và giúp chủ đầu tư lập lại nhiệm vụ thiết kế
Tư vấn thiết kế chủ động lập nhiệm thiết kế để đáp ứng được quyền lợi cao
nhất của chủ đầu tư, theo kinh nghiệm chuyên môn của mình.
Tư vấn thiết kế căn cứ theo tiêu chuẩn quy phạm để tính toán điều chỉnh lại
nhiệm vụ thiết kế để chủ đầu tư xem xét, chấp thuận
Theo quy định hiện hành, nhà chung cư, chung cư hỗn hợp phải bố trí tầng lánh nạn, gian lánh nạn đáp ứng các yêu cầu sau đây áp dụng cho nhà ở nào?
Yêu cầu:
- Các gian lánh nạn cách nhau không quá 20 tầng;
- Các gian lánh nạn phải được bảo vệ bằng bộ phận ngăn cháy có giới hạn chịu lửa không nhỏ hơn REI 150;
- Gian lánh nạn phải có diện tích đảm bảo đủ chứa được ít nhất một nửa tổng số người của tất cả các tầng trên và tầng dưới của gian lánh nạn với định mức 0,3 m2/người;
- Gian lánh nạn phải có cửa thông với buồng thang không nhiễm khói và phải có cửa ra thang máy chữa cháy;
- Gian lánh nạn phải có trang thiết bị chống cháy riêng gồm: thiết bị chống tụ khói, họng nước chữa cháy trong nhà, hệ thống chữa cháy tự động Sprinkler, chiếu sáng sự cố, điện thoại liên lạc với bên ngoài, hệ thống truyền thanh chỉ dẫn thoát nạn…
Áp dụng cho:
Nhà cao từ 50m - 75m.
Nhà cao từ 75m - 100m.
Nhà cao từ 100m - 150m.
Nhà cao trên 150m - 200m.